Problemy z alternatorem - zaniki napięcia.
Problemy z alternatorem - zaniki napięcia.
Od dłuższego czasu na ciągle ten sam problem z zanikami napięcia w instalacji elektrycznej:
- tz ciągle migają wszystkie odbiorniki w samochodzie - falowanie napięcia w instalacji.
Wszystko rozpoczęło się jakoś rok temu od uszkodzenia alternatora i akumulatora.
1) oczywiście alternator został naprawiony, akumulator wymieniony na nowy ale od tego czasu problem pozostaje nierozwiązany tz jak pracuje silnik jest falowanie napięcia w układzie widać to poprzez migające wszystkie odbiorniki w samochodzie.
2) ze względu na nierozwiązany problem po raz kolejny wymieniłem alternator - pomimo że dawał prawidłowe napięcie ładowania w zakładzie gdzie naprawiali alternator wymienili go na inny bo nie mieli innej koncepcji naprawy.
3) po wymianie alternatora problem nadal pozostał.
4) przeczyściłem wszytkie połączenia kabli do masy, łacznie z tymi leżącymi na silniku, pociągnąłem nawet kolejny kabel do masy i nic, klemy do akumulatora wyczyszczone.
5) ostatnio podłączyłem nawet nowy akumulator od kolegi - też nie pomogło.
6) zauważyłem jednak dziwny objaw tz po odłączenia klemów od akumulatora na pracującym silniku napięcie przestaje falować
7) zmierzony poziom ładowania akumaulatora jest prawidłowy.
- co jeszcze sprawdzić , może jakiś przekaźnik? już sam nie wiem.
-
- tz ciągle migają wszystkie odbiorniki w samochodzie - falowanie napięcia w instalacji.
Wszystko rozpoczęło się jakoś rok temu od uszkodzenia alternatora i akumulatora.
1) oczywiście alternator został naprawiony, akumulator wymieniony na nowy ale od tego czasu problem pozostaje nierozwiązany tz jak pracuje silnik jest falowanie napięcia w układzie widać to poprzez migające wszystkie odbiorniki w samochodzie.
2) ze względu na nierozwiązany problem po raz kolejny wymieniłem alternator - pomimo że dawał prawidłowe napięcie ładowania w zakładzie gdzie naprawiali alternator wymienili go na inny bo nie mieli innej koncepcji naprawy.
3) po wymianie alternatora problem nadal pozostał.
4) przeczyściłem wszytkie połączenia kabli do masy, łacznie z tymi leżącymi na silniku, pociągnąłem nawet kolejny kabel do masy i nic, klemy do akumulatora wyczyszczone.
5) ostatnio podłączyłem nawet nowy akumulator od kolegi - też nie pomogło.
6) zauważyłem jednak dziwny objaw tz po odłączenia klemów od akumulatora na pracującym silniku napięcie przestaje falować
7) zmierzony poziom ładowania akumaulatora jest prawidłowy.
- co jeszcze sprawdzić , może jakiś przekaźnik? już sam nie wiem.
-
Nie odłącza się klem od akumy podczas pracy silnika ponieważ można uszkodzić alternator(diody prostownicze) oraz elektronikę w aucie
Alternator generuje większy prąd na ładowaniu i musi mieć co go odebrać - jeśli już tak ktoś chce sprawdzać trza pamiętać,żeby powłączać jakieś odbiorniki tego prądu w aucie..
Jest dobrze po odłączeniu ponieważ akuma to główny magazyn prądu i po wypięciu jej z obwodu ładowania zmniejszasz obciążenie dla alternatora..
Należy pamiętać,iż auto jest zasilane głównie z alternatora podczas pracy silnika,a akuma ewentualnie wyrównuje niedobory napięcia i magazynuje prąd potrzebny na rozruch auta..
Czy napięcie ładowania było sprawdzane pod max obciązeniem
Czy po dłuższym postoju akuma wykazuje objaw rozładowania
Alternator generuje większy prąd na ładowaniu i musi mieć co go odebrać - jeśli już tak ktoś chce sprawdzać trza pamiętać,żeby powłączać jakieś odbiorniki tego prądu w aucie..
Jest dobrze po odłączeniu ponieważ akuma to główny magazyn prądu i po wypięciu jej z obwodu ładowania zmniejszasz obciążenie dla alternatora..
Należy pamiętać,iż auto jest zasilane głównie z alternatora podczas pracy silnika,a akuma ewentualnie wyrównuje niedobory napięcia i magazynuje prąd potrzebny na rozruch auta..
Czy napięcie ładowania było sprawdzane pod max obciązeniem
Czy po dłuższym postoju akuma wykazuje objaw rozładowania

- OLEY
- Klubowicz
- Posty: 12763
- Rejestracja: 2004-10-07 22:17
- Samochód: I Gen 3.0 V6 Vulcan '90
- Lokalizacja: Szczecin
A nie można było pociągnąć któregoś z istniejących już wątków z alternatorem, zamiast zakładać nowy?
Jeżeli już rozłączacie klemy akumulatora podczas pracy silnika, to
pamiętajcie, że wtedy zawsze trzeba włączyć wszystkie najbardziej prądożercze odbiorniki.
Np Ogrzewanie tylnej szyby, dmuchawa na maksa, światła drogowe (długie) itd. To na pewno uchroni alternator,
lub regulator napięcia.
Jeżeli już rozłączacie klemy akumulatora podczas pracy silnika, to
pamiętajcie, że wtedy zawsze trzeba włączyć wszystkie najbardziej prądożercze odbiorniki.
Np Ogrzewanie tylnej szyby, dmuchawa na maksa, światła drogowe (długie) itd. To na pewno uchroni alternator,
lub regulator napięcia.
[o]Piękno nie zna ceny.[/o]
- Basf_Wrocław
- Posty: 956
- Rejestracja: 2004-08-26 11:44
- Samochód: R4 94
- Galeria: viewtopic.php?t=5626
- Lokalizacja: Wrocław
W sumie to racja mogłem pociągnąć w innym poście związanym z alternatorem, założyłem jednak nowy wątek gdyż poprzednie wątki dotyczyły zupełnie innych problemów.
Temat wcale nie jest powielany gdyż na pewno na forum coś takiego z takimi objawami nie było poruszane (owszem były wątki dotyczące alternatora ale dotyczyły uszkodzonego regulatora napięcia bądź braku ładowania z alternatora co u mnie zostało wykluczone). Liczę po prostu na jakąś podpowiedź co jeszcze sprawdzić może ktoś ma jakąś koncepcję.
Temat wcale nie jest powielany gdyż na pewno na forum coś takiego z takimi objawami nie było poruszane (owszem były wątki dotyczące alternatora ale dotyczyły uszkodzonego regulatora napięcia bądź braku ładowania z alternatora co u mnie zostało wykluczone). Liczę po prostu na jakąś podpowiedź co jeszcze sprawdzić może ktoś ma jakąś koncepcję.
może mieć związek jeśli elektromagnes szwankuje mogą być takie objawy..Odkręć ten przewód - gruby plusowy od elektromagnesu/automatu przy odłączonym akumulatorze,a następnie na czas odpalenia silnika dołóż go w to samo miejsce,a druga osoba niech zapaliu auto i po odpaleniu zabierz z powrotem przewód zachowując szczególną ostrożność,żeby zwarcia nie zrobić i zaobserwuj czy jest jakaś różnica i ot wszystko.
Jeśli będzie tak samo to stawiam na układ prostowniczy,bądź szczotki w alternatorze,a jeśli to też jest na 100% ok to trzeba po kolei sprawdzać wszystko w aucie co ma wpływ na takie objawy.
A przewód masowy między karoserią ,a silnikiem masz na 100% dobry??
Pzdr. & c ya..
Jeśli będzie tak samo to stawiam na układ prostowniczy,bądź szczotki w alternatorze,a jeśli to też jest na 100% ok to trzeba po kolei sprawdzać wszystko w aucie co ma wpływ na takie objawy.
A przewód masowy między karoserią ,a silnikiem masz na 100% dobry??
Pzdr. & c ya..

- OLEY
- Klubowicz
- Posty: 12763
- Rejestracja: 2004-10-07 22:17
- Samochód: I Gen 3.0 V6 Vulcan '90
- Lokalizacja: Szczecin
Re: Problemy z alternatorem - zaniki napięcia.
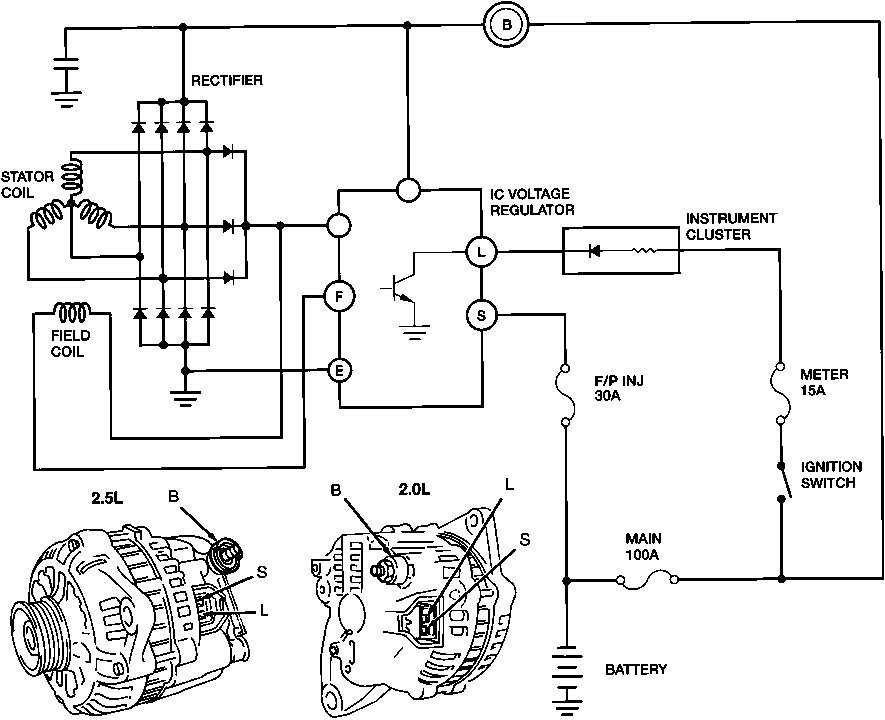
Powiedzcie mi, czy alternator w 2.0 jest taki sam jak w 2.5?
Są jakieś różnice, czy to jeden pies?
Są jakieś różnice, czy to jeden pies?
[o]Piękno nie zna ceny.[/o]
- Maciucha
- Posty: 1564
- Rejestracja: 2004-08-26 22:11
- Samochód: I GT
- Galeria: viewtopic.php?t=7836
- Lokalizacja: Gorzów Wielkopolski
- Kontakt:
Re: Problemy z alternatorem - zaniki napięcia.
Wg katalogów są inne.
- sziaba
- Posty: 168
- Rejestracja: 2008-04-23 20:29
- Samochód: Skoda Octavia Scout
- Galeria: viewtopic.php?t=13751
- Lokalizacja: Szczecinek
Re: Problemy z alternatorem - zaniki napięcia.
Twój problem "zapewne" dotyczy alternatora .......... nowy badź inny nieznaczy sprawny
Sam wymieniałem u siebie i montowałem alternator "Hella" objawy jak u ciebie wymontowałem i odesłałem na gwarancji po tygodniu ........
Odesłano mi go z atestem sprawności ......... więc montuje i dalej to samo
Wymontowałem i zawiozłem do Boscha i sam widziałem wykres ładowania nie był idealny skoki do 18 V
Odesłałem z diagnozą i ....małym listem:...... kasa spowrotem
Zamontowałem Boscha i problem znikł
P.S Odradzam wszystkim kupowanie rozruszników , alternatorów Helli to szmelc mój przypadek nie był od osobniony
P.S A to zaledwie fragment historyjki z alternatorem ....... była o wiele obszerniejsza
Sam wymieniałem u siebie i montowałem alternator "Hella" objawy jak u ciebie wymontowałem i odesłałem na gwarancji po tygodniu ........
Odesłano mi go z atestem sprawności ......... więc montuje i dalej to samo
Wymontowałem i zawiozłem do Boscha i sam widziałem wykres ładowania nie był idealny skoki do 18 V
Odesłałem z diagnozą i ....małym listem:...... kasa spowrotem
Zamontowałem Boscha i problem znikł
P.S Odradzam wszystkim kupowanie rozruszników , alternatorów Helli to szmelc mój przypadek nie był od osobniony
P.S A to zaledwie fragment historyjki z alternatorem ....... była o wiele obszerniejsza
Byl sobie Probe 2,5 V6 24v
Była sobie Mazda MX-5 NC
Jest Skoda Octavia Scout
Była sobie Mazda MX-5 NC
Jest Skoda Octavia Scout
Re: Problemy z alternatorem - zaniki napięcia.
hmmmm może odbiegnę nieco od tematu ale też dotyczy to falowania obrotów i przygasania kontrolek.
Podczas jazdy zdarzało mi się ze w aucie gasło na moment podświetlenie i wskazówka od poziomu naładowania aku spadała drastycznie. Szukałem przyczyny w alternatorze, sprawdziłem kable, szczotki wszystko ok. Co się okazało winna była kostka od czujnika 2go wiatraka (tego większego). Nie łączyła czasem i na drodze włączało i wyłączało mi ten duży wiatrak co powodowało drastyczny spadek napięcia na aku.
kostki zgromadzone są nad górną częścią pokrywy rozrządu. Jest ich bodajże 3. U mnie szwankowała 1 od strony zderzaka
Podczas jazdy zdarzało mi się ze w aucie gasło na moment podświetlenie i wskazówka od poziomu naładowania aku spadała drastycznie. Szukałem przyczyny w alternatorze, sprawdziłem kable, szczotki wszystko ok. Co się okazało winna była kostka od czujnika 2go wiatraka (tego większego). Nie łączyła czasem i na drodze włączało i wyłączało mi ten duży wiatrak co powodowało drastyczny spadek napięcia na aku.
kostki zgromadzone są nad górną częścią pokrywy rozrządu. Jest ich bodajże 3. U mnie szwankowała 1 od strony zderzaka
Ford Probe II Gen.
170 HP, Czarna perła
Xenon, Indiglo, Alu 17"
GAZZZZZ Sekwencja
)
170 HP, Czarna perła
Xenon, Indiglo, Alu 17"
GAZZZZZ Sekwencja
- Robert
- Posty: 12613
- Rejestracja: 2004-10-21 19:12
- Samochód: Probe GT2.0'89; ForTwo 0.6turbo; HRV 1.6
- Galeria: viewtopic.php?t=6900
- Lokalizacja: Leszno (maz)
- Kontakt:
Re: Problemy z alternatorem - zaniki napięcia.
2.0 80AOLEY pisze:Powiedzcie mi, czy alternator w 2.0 jest taki sam jak w 2.5?
Są jakieś różnice, czy to jeden pies?
2.5 90A
Poświęć niecałe 2 minuty na naukę korzystania z forum:
Lekcja 1 (bardzo krótka) i
Lekcja 2 (krótka)

'89 2.0 Turbo downgrade

'89 2.0 Turbo downgrade- OLEY
- Klubowicz
- Posty: 12763
- Rejestracja: 2004-10-07 22:17
- Samochód: I Gen 3.0 V6 Vulcan '90
- Lokalizacja: Szczecin
Re: Problemy z alternatorem - zaniki napięcia.
Dzięki za szybką odpowiedź.
Choć minęły ponad trzy lata, to jednak sprawa zdaje się być dziś aktualna. Co wjadę w kałużę, nawet najmniejszą,
to zaraz zapala się kontrolka braku ładowania, znikają światła, zwalnia nawiew itd.
W swoich szpargałach, a zasób ich wielki (Kocureq potwierdzi
) mam alternator i dzięki Twojej odpowiedzi sprawdzę, czy to
do mojej dwójeczki...
Choć minęły ponad trzy lata, to jednak sprawa zdaje się być dziś aktualna. Co wjadę w kałużę, nawet najmniejszą,
to zaraz zapala się kontrolka braku ładowania, znikają światła, zwalnia nawiew itd.
W swoich szpargałach, a zasób ich wielki (Kocureq potwierdzi
do mojej dwójeczki...
[o]Piękno nie zna ceny.[/o]
-
doriprobe1993
- Posty: 33
- Rejestracja: 2012-05-02 23:49
- Samochód: Probe 2,5 v6 1993 rok
- Lokalizacja: kluczbork
Re: Problemy z alternatorem - zaniki napięcia.
Witam,czy ktoś orientuje się ile kosztuje wymiana alternatora? Bo probe juz coraz mniejsze obroty łapie. wskazówka od aku spada w sekundzie poza skale jak wcisne sprzęgło,lub wrzuce na luz.
- Kocureq
- Klubowicz
- Posty: 10633
- Rejestracja: 2006-03-21 21:35
- Samochód: Patrol Y60 1991, Audi A4 2023
- Galeria: viewtopic.php?t=10333
- Lokalizacja: Warszawa
Re: Problemy z alternatorem - zaniki napięcia.
Wymiana? Nic, chwila pracy
Zdobądź dobry alternator - ja kupiłem używkę działającą za 50 zł tu na forum.
- avel
- Posty: 466
- Rejestracja: 2009-04-26 17:16
- Samochód: Probe II 2.0 1994
- Galeria: viewtopic.php?t=20438
- Lokalizacja: Unisław, kujawsko-pomorskie
Re: Problemy z alternatorem - zaniki napięcia.
Jak to 2.0 to nie taka chwila. Jak nie odkręcisz półośki to nie wylezie. A jak wiadomo demontaż półosi wiąże się z demontażem koła, zwrotnicy, końcówki stabilizatora itd. Generalnie dostęp w 2.0 jest do bani. Pozdro.
Stare i zardzewiałe! Probe II 2.0 1994, było 
Audi A3 2.0TDI 170km quattro 2007, jest
Audi A3 2.0TDI 170km quattro 2007, jest
- Kocureq
- Klubowicz
- Posty: 10633
- Rejestracja: 2006-03-21 21:35
- Samochód: Patrol Y60 1991, Audi A4 2023
- Galeria: viewtopic.php?t=10333
- Lokalizacja: Warszawa
Re: Problemy z alternatorem - zaniki napięcia.
To już napisz w giełdzie, tu mało kto zajrzy po części
A lepiej - sam poczytaj ogłoszenia sprzedaży może ktoś ma.
[r]Wymiotłem do Giełdy.[/r]
W 2,5 się dość prosto wymienia.
btw. półośkę się wyjmuje odkręcając tylko amor od zwrotnicy
[r]Wymiotłem do Giełdy.[/r]
W 2,5 się dość prosto wymienia.
btw. półośkę się wyjmuje odkręcając tylko amor od zwrotnicy
-
doriprobe1993
- Posty: 33
- Rejestracja: 2012-05-02 23:49
- Samochód: Probe 2,5 v6 1993 rok
- Lokalizacja: kluczbork
Re: Problemy z alternatorem - zaniki napięcia.
-- oryginalny post 2012-05-10 23:57 --
I tak sam tego nie bede wymieniał,bo nie znam sie na mechanice. A niechce narobić większych kłopotów w autku:)
-- dodano 2012-05-10 23:58 --
Mam tylko nadzieje że po wymianie probe bedzie chodził jak należy bo z takimi obrotami to sie nie da jeźdźic:(
I tak sam tego nie bede wymieniał,bo nie znam sie na mechanice. A niechce narobić większych kłopotów w autku:)
-- dodano 2012-05-10 23:58 --
Mam tylko nadzieje że po wymianie probe bedzie chodził jak należy bo z takimi obrotami to sie nie da jeźdźic:(
- MAcieja87
- Posty: 77
- Rejestracja: 2009-08-02 14:20
- Samochód: Probe 2.5 v6 95r
- Lokalizacja: Warmińsko-Mazurskie / Olsztyn
Re: Problemy z alternatorem - zaniki napięcia.
A my nie wiedzieliśmy jak dojść do niego i wyjmowaliśmy chłodnicę hehe
- Kocureq
- Klubowicz
- Posty: 10633
- Rejestracja: 2006-03-21 21:35
- Samochód: Patrol Y60 1991, Audi A4 2023
- Galeria: viewtopic.php?t=10333
- Lokalizacja: Warszawa
Re: Problemy z alternatorem - zaniki napięcia.
W 2,5? łatwo, chyba 3 śruby i wychodzi dołem 
- Romas
- Klubowicz
- Posty: 5270
- Rejestracja: 2009-12-23 22:35
- Samochód: PROBE '94 2.5V6 GT MTX
- Galeria: viewtopic.php?t=19226
- Lokalizacja: Warszawa
Re: Problemy z alternatorem - zaniki napięcia.
avel pisze:Jak to 2.0 to nie taka chwila. Jak nie odkręcisz półośki to nie wylezie. A jak wiadomo demontaż półosi wiąże się z demontażem koła, zwrotnicy, końcówki stabilizatora itd. Generalnie dostęp w 2.0 jest do bani. Pozdro.
wiem bo już to robiłem w 2.0 nie raz nie dwa.
wystarczy odkrecić belkę poprzeczną dolną i łącznik nieco wyżej (łącznie 9 śrubek) + odkręcić alternator i wyciągnąć dołem. 15 min roboty


automat USA '90